Maxwell bude GeForce GTX 980, přijde s referenčním chladičem a 4 GB GDDR5
První zpráva se týká těch uživatelů, kteří plánují s okamžikem uvedení naběhnout do obchodů a kartu si pořídit: Poptávejte GeForce GTX 980, nikoli GeForce GTX 880. Nvidia se z neupřesněného důvodu rozhodla přeskočit jednu číselnou generaci (podobně jako před lety přeskočila třístovkovou řadu), a tak Maxwell půjde do světa v rámci devítistovkové.
Další zvěst se týká provedení karty. V první vlně půjdou do prodeje výlučně referenční modely ve 4GB provedení. Od listopadu již bude na výběr mezi nereferenčními kartami s alternativním chlazením a milovníci texture-packů možná ocení 8GB verze.
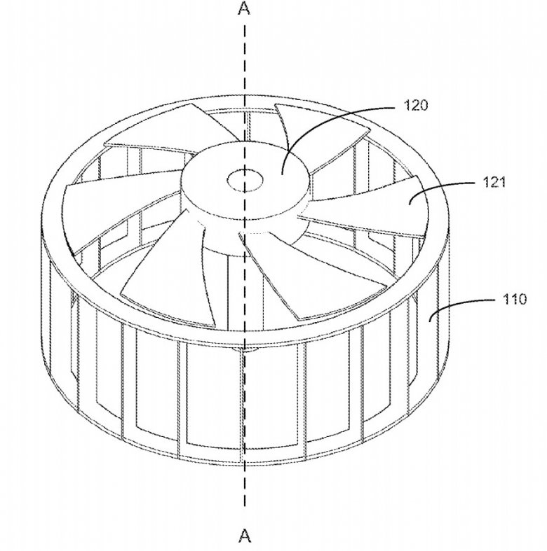
S referenčním chlazením souvisí i patent Nvidie na nový koncept chladiče, který bývá s blížícím se uvedením Maxwellu opět připomínán. Jeho předmětem je turbína, která kombinuje radiální i axiální lopatky, jak je patrné z výše znázorněného schématu. Tvrdit, že se na Maxwellu objeví, by byla nepodložená spekulace, ale připustit to lze - zvlášť když si je Nvidia vlastním chladičem natolik jistá, že jej tentokrát nenechá v rukou výrobců.
Nakonec je tu otázka výkonu. V jednom z našich článků jsme na základě efektivity čipu GM107 ve smyslu výkon na milimetr čtvereční a takt, zmínili, že by Maxwell GM204 za předpokladu GPU o rozměrech přes 400 mm² mohl dosahovat výkonu i několik desítek procent nad Titany. Podle informací, které zveřejnil známý overclocker a provozovatel OCUK Gibbo, asi budou na místě konzervativnější očekávání. Nemáme doufat ve výrazný odstup od jednočipových top modelů - GeForce GTX 980 prý bude rychlejší než GeForce GTX 780 - jak na tom bude ve srovnání s GTX 780 Ti, ale komentovat nechtěl. Samozřejmě tu je i možnost, že si Nvidia nechává rezervu pro případnou GTX 980 Ti.
WCCFTech, VideoCardz, OCUK (1, 2)




















