Apple má s ohybnými displeji jasné plány. Budou kolem dokola.
Před dvěma týdny oznámily korejské zdroje, že podepsání smlouvy mezi Applem a Samsungem na dodávky flexibilních displejů je na spadnutí. Pro Samsung tato smlouva znamená investice kolem sedmi miliard dolarů, které půjdou do rozšíření výrobních kapacit v letošním a příštím roce. Pro Apple to znamená, že následující generace iPhonů, ale i dalším firemních produktů, budou koncipované tak, aby šly co možná nejvíc naproti možnostem využití ohebným displejům od Samsungu.
K tomu je třeba nových nápadů a pro jejich právní ochranu pak musí vzniknout patentovatelné vzory. Tak se i stalo, 21. ledna 2016 byly Applu přiklepnuty patenty na elektronická zařízení obalená displejem. Patent vyobrazuje řadu ukázek - u několika konkrétních je ale zcela zřejmé, kam tím Apple míří:
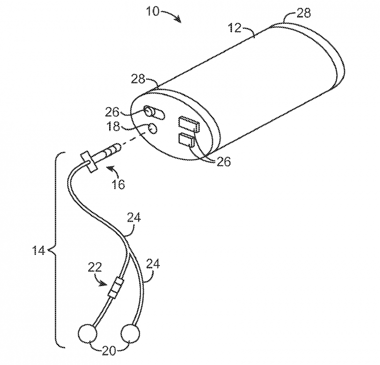
Kupříkladu tento zobrazuje možnou podobu přehrávače Apple iPod, jehož tělo válcového průřezu by bylo po celém povrchu pláště kryté displejem.
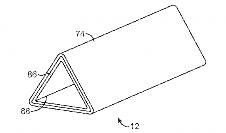
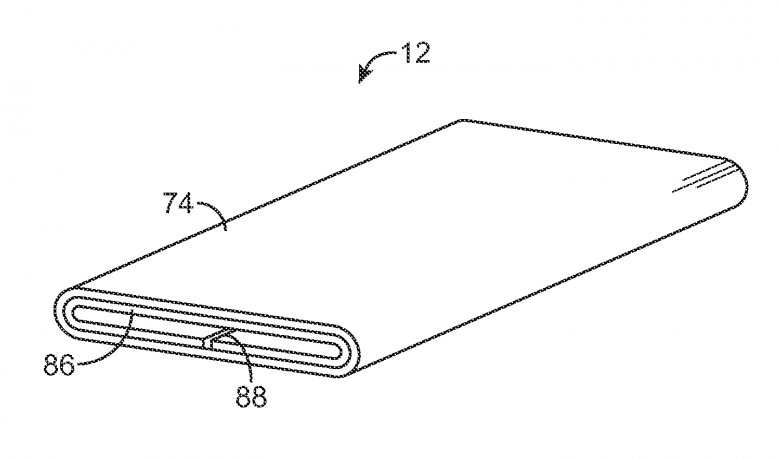
Další ukázka ilustruje produkt s průřezem rovnostranného trojúhelníka. Bylo by jej možné využít pro podobný typ zařízení. Trochu odlišně vypadá koncept připomínající smartphone, který je rovněž krytý displejem po celém obvodu.
Protože jde o patenty průmyslových vzorů, je třeba je tak i chápat. Apple si je chrání, ale to ještě neznamená, že musí všechny využít na reálných produktech. Pokud bychom zašli ad absurdum, dalo by se říct, že Apple nemusí vydat vůbec žádný produkt, který by z těchto vzorů vycházel. S ohledem na spolupráci se Samsungem je ale jasné, že nějaké takové produkty chystá a podoba alespoň části z nich nebude daleko od těch, které jsou zachycené ve schématických nákresech.
I zatím nemůžeme hodnotit, zda nově pojatý koncept zobrazovací části uživatelského rozhraní přinese konkrétní výhody po stránce ergonomie a intuitivního ovládání, je prakticky jisté, že právě takto bude vypadat budoucnost mobilních zařízení. Prosazuje-li tuto ideu Apple a dodává-li komponenty Samsung, je neúspěch velmi nepravděpodobný.























